asdar.id menyediakan Member Premium Download untuk download file tanpa embel-embel iklan dan halaman, apa lagi harus menunggu timer yang begitu lama. Dengan berlangganan Member Premium Download, semua file dapat didownload dengan singkat langsung menuju ke sumbernya!, klik DISINI untuk DAFTAR atau DISINI untuk LOGIN :-) Jika ada pertanyaan silahkan hubungi Admin DISINI. Untuk cara download file Member Free Download, bisa membaca Tutorial Download yang ada dibawah Timer (halaman Safelink) saat menekan tombol download.Halo rekan-rekan sekalian, apa kabar kalian hari ini? Saya doakan semoga sehat selalu. Postingan kali ini saya akan membagikan artikel download gratis ketentuan standard detail struktur. Untuk bisa mendownloadnya, mari simak artikelnya dibawah ini.
Dalam Proyek konstruksi, terutama gedung. Dibutuhkan banyak acuan dan standar untuk menciptakan suatu konstruksi yang kokoh. Hitungan dari Perencana Struktur belum ada artinya, sebelum Ia membuat Gambar rekayasa struktur, yaitu gambar- gambar yang disiapkan oleh Perencana Struktur yang mencakup secara lengkap catatan-catatan dan informasi penting dalam bentuk yang dapat ditafsirkan tepat dan akurat agar dapat diaplikasikan di lapangan.
Kewajiban Perencana Struktur adalah melengkapi persyaratan-persyaratan desain dengan keterangan yang jelas, dan kewajiban Pembuat Detail adalah melaksanakan persyaratan-persyaratan tersebut. Spesifikasi atau gambar- gambar dari Perencana Struktur yang kurang jelas atau kurang lengkap tidak boleh diserahkan begitu saja kepada Pembuat Detail. Perencana Struktur tidak boleh menginstruksikan Pembuat Detail agar mencari sendiri informasi yang diperlukan untuk menyiapkan gambar-gambar pelaksanaan dari suatu referensi tertentu.
Informasi yang diperlukan oleh Pembuat Detail harus ditafsirkan sendiri oleh Perencana Sruktur dan diberikan dalam bentuk detail perencanaan yang spesifik atau catatan yang jelas untuk dipatuhi Pembuat Detail. Jika ditemukan ketidaklengkapan, keraguan, atau ketidakcocokan, maka informasi tambahan, penjelasan, atau koreksi yang diminta oleh Pembuat Detail harus diberikan kepada Perencana Struktur.
Dalam proyek konstruksi terutama Gedung, banyak kita jumpai detail-detail perencanaan yang berupa detail penulangan, panjang penjangkaran, bengkokan, kait, sambunga (joint), dan lain-lain yang semuanya harus akurat untuk menjamin kekuatan struktur yang Kita bangun. Berikut adalah beberapa hal yang harus diperhitungkan.
1. Kait Standar
Pembengkokan tulangan harus memenuhi ketentuan sebagai berikut:
- Bengkokan 180° ditambah perpanjangan 4db, tapi tidak kurang dari 60 mm, pada ujung bebas kait.
- Bengkokan 135° ditambah perpanjangan 6db, tapi tidak kurang dari 75 mm, pada ujung bebas kait.
- Bengkokan 90° ditambah perpanjangan 12db pada ujung bebas kait.
Detail dari pembengkokan tulangan dijelaskan pada Tabel 1 berikut.

2. Kait Pengikat dan Sengkang
Ketentuan untuk sengkang dan kait pengikat adalah sebagai berikut:
- Batang D-8 sampai D-25 bengkokan 135° ditambah perpanjangan 6ds atau tidak kurang dari 75 mm pada ujung bebas kait.
- Batang D-16 dan yang lebih kecil, bengkokan 90° ditambah perpanjangan 6ds pada ujung bebas kait.
- Batang D-19, D-22, dan D-25, bengkokan 90° ditambah perpanjangan 12ds pada ujung bebas kait.

Detail dari penggambaran sengkang dapat dilihat pada Gambar berikut:


3. Diameter Bengkokan Minimum
Diameter untuk bengkokan minimum tulangan harus memenuhi persyaratan sebagai berikut:
- Diameter bengkokan yang diukur pada bagian dalam batang tulangan tidak boleh kurang dari nilai dalam Tabel 2.2. Ketentuan ini tidak berlaku untuk sengkang dan sengkang ikat dengan ukuran D-10 hingga D-16.
- Diameter dalam dari bengkokan untuk sengkang dan sengkang ikat tidak boleh kurang dari 4db untuk batang D-16 dan yang lebih kecil. Untuk batang yang lebih besar daripada D-16, diameter bengkokan harus memenuhi Tabel 3.
- Diameter dalam untuk bengkokan jaring kawat baja las (polos atau ulir) yang digunakan untuk sengkang dan sengkang ikat tidak boleh kurang dari 4db untuk kawat ulir yang lebih besar dari D7 dan 2db untuk kawat lainnya.

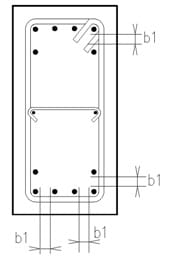
4. Batasan Spasi Tulangan
Batasan spasi tulangan yang diizinkan adalah sebagai berikut:
- Jarak bersih antara tulangan sejajar dalam lapis yang sama, tidak boleh kurang dari db ataupun 25 mm.
- Bila tulangan sejajar tersebut diletakkan dalam dua lapis atau lebih, tulangan pada lapis atas harus diletakkan tepat di atas tulangan di bawahnya dengan spasi bersih antar lapisan tidak boleh kurang dari 25 mm.
Batasan spasi penulangan balok dapat dilihat pada Gambar berikut:
Keterangan:
- b1 = Jarak bersih antar tulangan
- Syarat = > 25 mm > 1,25d dari ukuran agregat maksimum > 1,5d
Berikut adalah contoh aplikasi detail penulangan di lapangan:













Untuk mendownload Tata Cara Penulangan untuk Struktur Beton dalam format autoCAD bisa download dibawah ini.
Note: Jika menemukan file winrar tidak bisa di extract atau mengalami error saat membukanya, maka solusinya adalah dengan memperbarui aplikasi winrar anda ke versi yang terbaru, atau bisa juga dengan mendownload ulang filenya. Biasanya error terjadi saat ada kegagalan file yang di unduh. Selamat mendownload.
Sumber referensi: perencanaanstruktur.com
Sekian artikel kali ini, semoga bisa bermanfaat untuk rekan-rekan sekalian. Jangan lupa share artikel ini ke sosial media agar yang lain bisa mendapat banyak manfaatnya. Terima kasih telah membaca dan sampai jumpa pada artikel selanjutnya.


















![√[PLUS GAMBAR]Download RAB Aparatur Gampong Format Excel gambar dan rab aparatur gampong](https://www.asdar.id/wp-content/uploads/2025/03/gambar-dan-rab-aparatur-gampong-238x178.jpg)

kang ijin save artikel ini di blog saya ya
silahkan pak